Hitta en lokal återförsäljare
Hitta en lokal återförsäljare i din närhet
Kontrollera enhetens kompatibilitet
Hur du hittar ditt E-nummer
Modellnumret (E-nummer) finns på typskylten på din enhet.
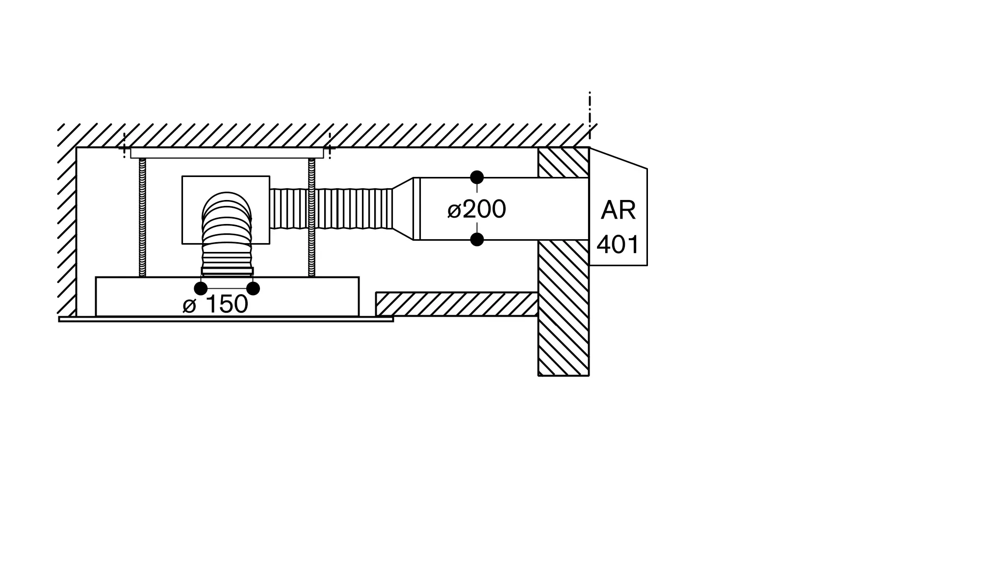
Teknisk översikt
Tillbehör till
Fläktkåpa
Specifikationer
Belysningsmodul för takventilation
Individuell inbyggnad av belysningselement i sammansättningen av takventilationen
Anslutning till respektive produkt via nätverkskabel
Se i Models and Dimensions för rekommenderade kombinationer av takventilation och externa motorer, och dess dimensioner
Monteras ihop med filtermodulen
Total anslutningseffekt 4 W.
Nätverkskabel 2 m
Anslutningskabel 1.75 m, måste pluggas i














