Tuotetiedot
Viisi monipiiristä poltinta, maksimissaan 18 kW
Täysin elektroninen 12-portainen tehonsäätö
Tarkka ja toistettava liekinsäätö
Automaattinen pikasytytys, elektroninen liekinvalvonta automaattisella uudelleensytytyksellä
Erittäin alhaisella lämpötilalla toimiva haudutus
Luja valurautaritilä, jonka tasainen pinta on samassa tasossa pöytälevyn kanssa
Ruostumattomasta teräksestä valmistettu säädin
1 monirenkainen wokkipoltin (300 W – 6000 W), sopii maks. ø 32 cm kattiloille
2 superpoltinta kahdella liekkikehällä (165 W – 4000 W), max. ø 28 cm kattiloille
2 normaalipoltinta kahdella liekkikehällä (165 W – 2000 W), max. ø 28 cm kattiloille
Valaistut säätimet, keittoalueen ja tehon merkinnät
Käyttö yhdellä kädellä
Sähkökäyttöinen 12 tehoalueen tarkka säätö ja haudutustoiminto
Automaattinen pikasytytys
Haudutustaso
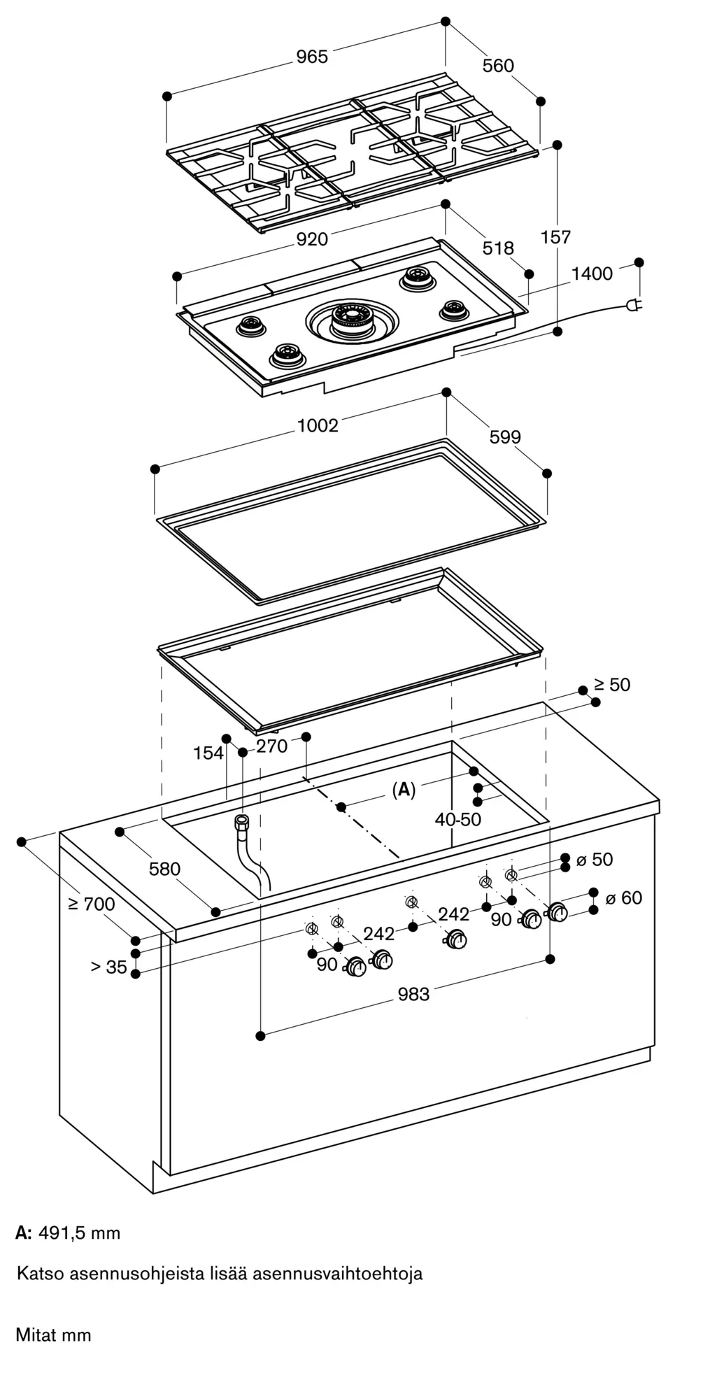
Kolmiosainen tasolla varustettu valurautaritilä, keittoastiataso koko matkalla, asennetaan tasoon.
Kaasupolttimet messinkiä
Elektroninen liekinvalvonta automaattisella uudelleensytytyksellä
Jälkilämmön osoitin
Turvakatkaisu
Asennuskehys voidaan lähettää etukäteen ruostumattomasta teräksestä tai kivestä valmistetun tason toimittajalle asennusta varten.
Ota huomioon, että kaasuliitäntä vaikuttaa vetolaatikon syvyyteen
Suunnittele sähköliitäntä (keittotaso ei toimi ilman sähköä)
Säätimen voi siirtää vaakatasossa haluttuun kohtaan
Jos seinän paksuus on yli 23 mm, toimitaan vasemmanpuoleisen piirroksen mukaan (takasivu täytyy kovertaa)
Pienin tason syvyys 70 cm.
Ilmanimu ylhäältä
Välipohja ei ole välttämätön
Kun tasoon hitsataan erillinen kehys, kaikkiin osiin pääsee helposti käsiksi.
Takaseinän ja reunalistojen on oltava lämpöä kestävää ja palamatonta materiaalia
Keittotaso kiinnitetään yläpuolelta.
Palavasta materiaalista valmistetun yläkaapin etäisyys keittotasosta on oltava vähintään 76 cm.
Kunkin yksittäisen liesituulettimen vähimmäisetäisyys näkyy suunnitteluohjeissa.
Lämpöherkkiin pintoihin tai laskupinnoille on oltava vähintään 300 mm:n etäisyys. Vaihtoehtoisesti on käytettävä lämpöä eristävää materiaalia
Kun kokonaisliitäntäteho on yli 11 kW, on noudatettava paikallisia määräyksiä tilan ilmanvaihdosta, koosta sekä poisto- ja kiertoilmatuulettimen yhdistelmästä.
Ei suositella käytettäväksi yhdessä VL 414 kanssa, sillä keskimmäinen poltinalue jää
kauaksi tuulettimesta eikä riittävää tuuletusta voida taata
Laitteen paino: 35 kg.
Kokonaisliitäntäteho, kaasu: 18.0 kW
Kokonaisliitäntäteho, sähkö: 15.0 W
Liitäntäkaapeli 1.4 m, suko-pistoke.







