Highlights
Produktdetails
Verwendung von Kochgeschirr direkt auf der Arbeitsplatte in Kombination mit einer 12 mm Dekton Arbeitsplatte
Integrierte 28 cm Kochzone mit Booster-Funktion
Kochzonenmitte sowie Betriebs- und Restwärmeanzeige werden durch einen Leuchtpunkt direkt auf der Arbeitsplatte angezeigt.
Perfekt kombinierbar mit anderen integrierten Induktionsmodulen der Serie 400
Massiver Edelstahlknebel, auch mit schwarzer, robuster Oberfläche wählbar, für präzise Steuerung und Personalisierung
1 Induktionskochzone ø 28 cm (2200 W, mit Booster 2700 W).
Bedienknebel mit Leuchtring, Kochzonen- und Leistungsmarkierung.
Elektronische Regelung in 12 Leistungsstufen.
Kochzonenmitte wird durch einen Leuchtpunkt angezeigt.
Booster-Funktion.
Warmhalte-Funktion.
Optionsmenü.
Funktioniert nur mit erweitertem Oberflächenschutz.
Betriebsanzeige.
Topferkennung.
2-stufige Restwärmeanzeige auf der Arbeitsplatte und Knebel.
Sicherheitsabschaltung.
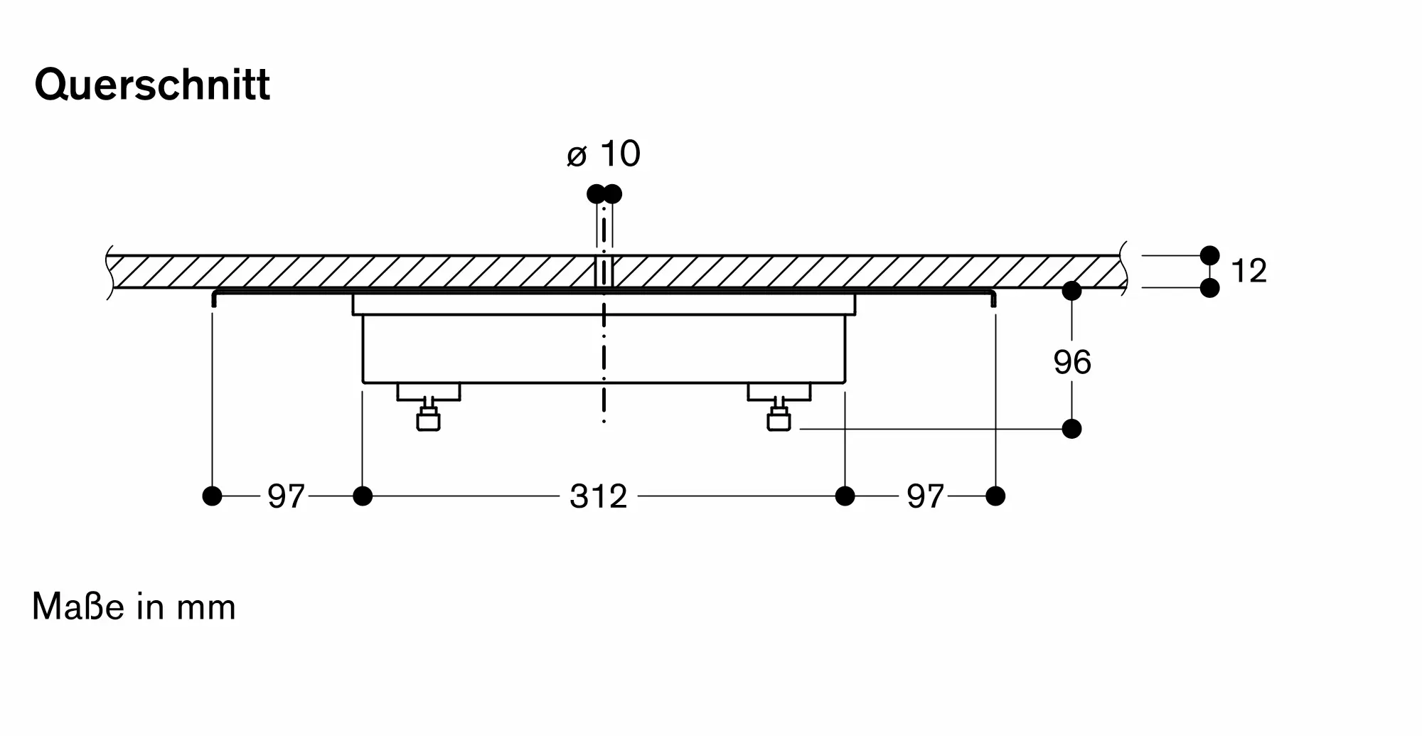
Das integrierte Induktionsmodul muss unter einer Dekton-Arbeitsplatte in 12 mm Stärke eingebaut werden.
Keine anderen Geräte unterbauen, z. B. Backöfen, Kühlgeräte oder Geschirrspüler.
Die Tragfähigkeit und Stabilität muss durch geeignete Unterkonstruktionen unterstützt werden. Berücksichtigen Sie das Gerätegewicht und zusätzliche Lasten.
In der Mitte der Kochzone muss eine 10 mm große Bohrung vorgesehen werden. Gravuren zur Kennzeichnung der Kochzone sind einzuplanen.
Keine weiteren Ausschnitte in der gleichen Arbeitsplatte zugelassen.
Die Bearbeitung der Dekton-Arbeitsplatte wird von lokalen Verarbeitern/Steinmetzen durchgeführt. Eine Liste der empfohlenen Verarbeiter/Steinmetze erhalten Sie von Ihrem lokalen Ansprechpartner.
Für Dekton Verarbeiter/Steinmetze: Verweis auf „Marking and drilling protocol for Gaggenau induction” von Cosentino.
Mindestabstände:
Kochzonenmitte bis zum seitlichen Rand der Arbeitsplatte 400 mm.
Kochzonenmitte bis Vorder- und Hinterkante der Arbeitsplatte 400 mm.
Kochzonenmitte bis zur nächsten Kochzonenmitte 450 mm oder 550 mm je nach Kombination.
Mindestabstände an der Rückwand der Möbel und Öffnungen siehe Maßzeichnungen.
Nur geeignet für eisenmagnetisches Kochgeschirr. Für eine optimale Temperaturverteilung wird Kochgeschirr mit Sandwichboden empfohlen.
Gerätegewicht: ca. 7 kg.
Gesamtanschlusswert 2.7 kW.
Anschlusskabel 1.50 m ohne Stecker.
Länge Anschlusskabel für Bedienknebel 1 m.














