1 / 0




Find a showroom or a local dealer
Find a showroom or a local dealer
Check appliance compatibility
How to find your E-Number
The model number (E-number) is located on the type plate of your device.
Additional information
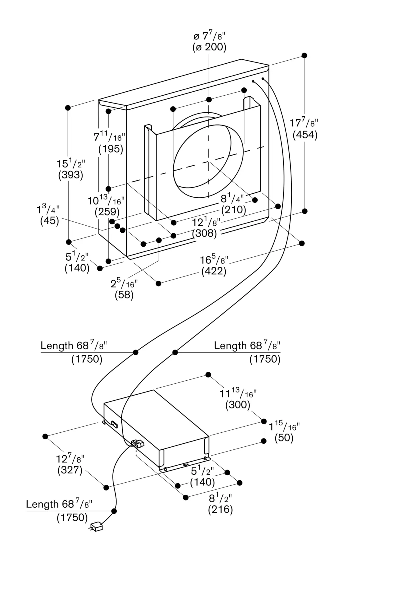
Powerful blower for combination with 400 series ventilation systems
Efficient BLDC technology
Power levels depend on the ventilation system.
3 electronically controlled power levels and one intensive mode.
Fan technology with highly efficient, brushless DC motor (BLDC).
Including sound insulation to minimise the noise level.
Stainless steel housing.
Retaining bracket for installation on an outside wall enclosed.
Remote fan unit in combination with motorless appliances 400 series.
Connection to the respective appliances via network cable.
Installation in an exterior area allows for a reduced noise level in the kitchen
Installation on an outside wall.
Control box must be installed indoors.
Acceptable temperature range for installation of the control box: -13 to 140 F.
Distance for free air space from ground (or other object) to center of the pipe: min 60 cm
When installing a ventilation hood with air extraction mode and a chimney-vented fireplace, the power supply line of the ventilation appliance needs a suitable safety switch.
120 V / 60 Hz.
Connecting cable 35.4" with plug.
16' network cable included.