200 series Induction Cooktop 30''CI282601
CI282601
Find a showroom or a local dealer
Technical Overview
Overall Appliance Dimensions (HxWxD) (in)
0" + 4 1/4'' x 31 7/32" x 20 13/64"
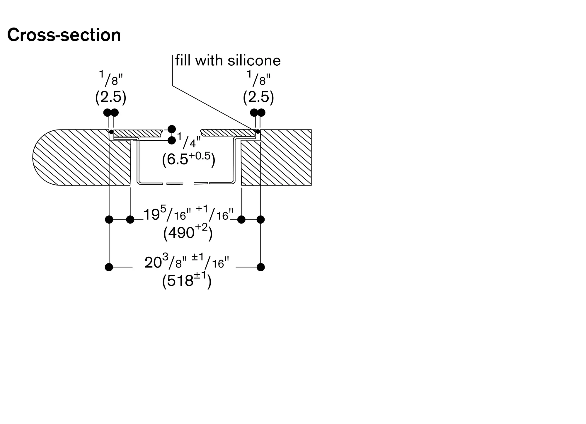
Required Cutout Size (HxWxD) (in)
4 1/4'' x 30 11/16" x 19 5/16"
Additional information
Flex function for combining the rectangular cooking areas
Free positioning of cookware inside combined cooking areas
Cooking sensor function for temperature control in pots
Frying sensor function for temperature control in pans
Twist-Pad control with removable magnetic knob
Easy control of all functions with bi-coloured display
2 flex induction cooking zones 7 1/2" x 9" (2200 W, with booster 3,700 W), linked together 15" x 9" (3300 W, with booster 3,700 W).
1 induction cooking zone ø 11" (2600 W, with booster 3600 W).
1 induction cooking zone ø 6" (1400 W, with booster 2200 W).
Twist-Pad control with removable magnetic knob.
User friendly control with bi-coloured display (white / orange).
Cooking zone and cooking area marking.
Electronic power control in 17 output levels.
Flex function for rectangular cooking areas.
Cooking sensor function (in use with cooking sensor CA 060 600).
Frying sensor function.
Booster function for pots.
Booster function for pans.
Keep warm function.
Stopwatch.
Cooking timer for up to 99 minutes.
Short-term timer.
Options menu.
Power management.
Home network integration for digital services (Home Connect) wireless via WiFi.
The use of the Home Connect functionality depends on the Home Connect services, which are not available in every country. For further information please check: home-connect.com.
Main switch.
Operation indicator.
Pot detection.
Digital 2 stage residual heat indicator
Child lock.
Safety shut-off.
Operates with magnetic (induction)
iron pots and pans only. For an optimal heat distribution, the use of flat bottom cookware is recommended.
The wok pan WP 400 001 cannot be used with this appliance.
Intermediate shelf is recommended, but should be removable for customer service needs.
Appliance must be fixed from underneath. Hardwire required.
Appliance weight: approx. 19 kg.
Total rating: Connected load: 6240 W
Plan for a 37''connecting cable
without plug (hardwire required).




