1 / 0




Vérifier la compatibilité de l'appareil
Comment trouver votre numéro électronique
Le numéro de modèle (E-number) se trouve sur la plaque type de votre appareil.
Caractéristiques
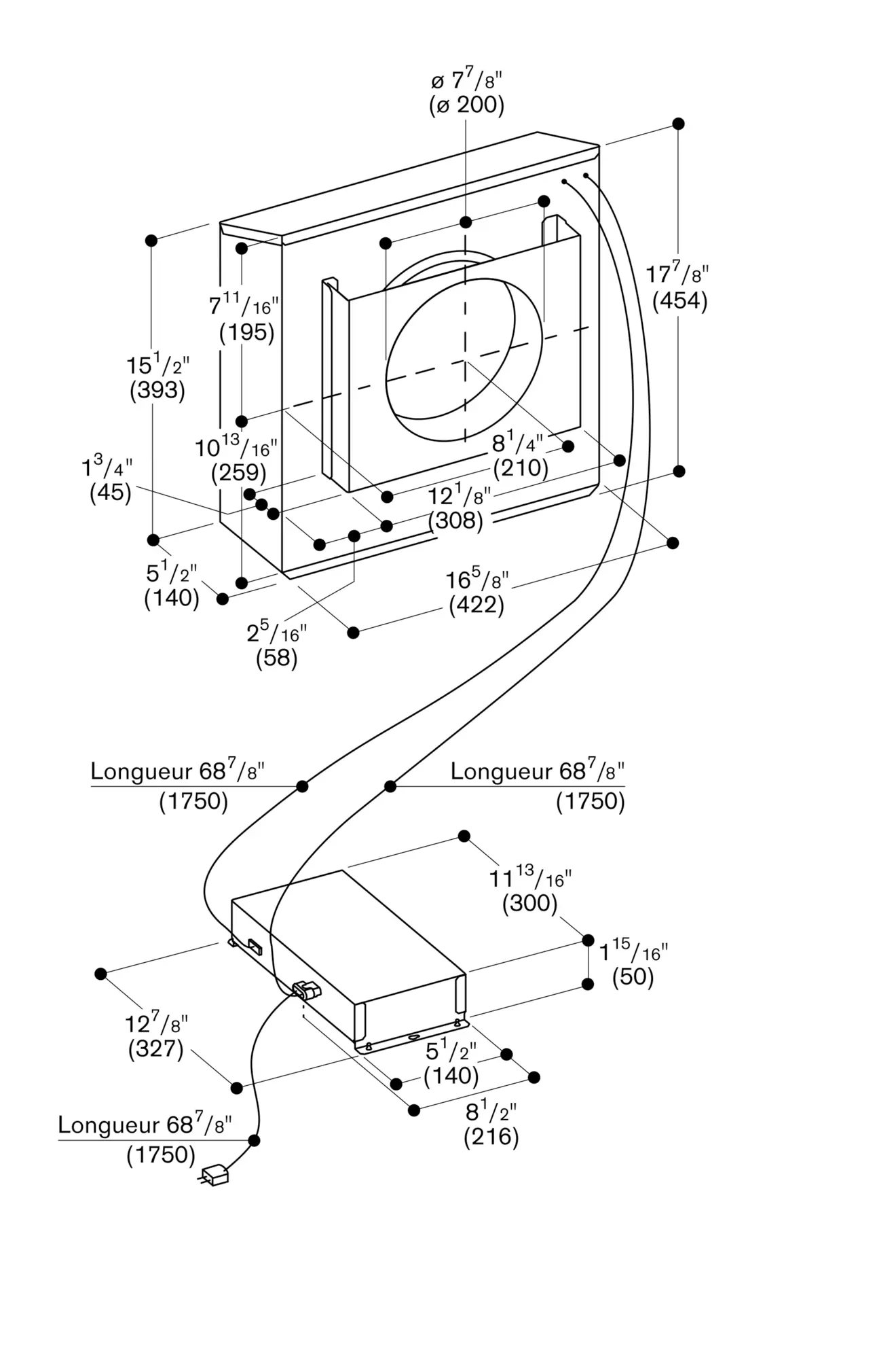
Puissant ventilateur à distance à combiner avec des appareils sans moteur
Technologie BLDC efficace
Les niveaux de puissance dépendent du système de ventilation.
3 niveaux de puissance contrôlés électroniquement et un mode intensif.
Technologie de ventilateur avec moteur DC (BLDC) brushless très efficace.
Y compris isolation acoustique pour minimiser le niveau de bruit.
Boîtier en acier inoxydable.
Support de fixation pour installation sur un mur extérieur fermé.
Ventilateur à distance en combinaison avec des appareils sans moteur.
Connexion aux appareils respectifs par câble réseau.
L’installation dans une zone extérieure permet de réduire le niveau de bruit dans la cuisine
Installation sur un mur extérieur.Le boîtier de commande doit être installé à l’intérieur.
Lors de l’installation d’une hotte avec aspiration d’air et d’un foyer à cheminée, la ligne d’alimentation électrique de l’appareil de ventilation a besoin d’un interrupteur de sécurité approprié.
120 V / 60 Hz
Câble de connexion 1,7m, enfichable.
Câble de connexion 0,9 m, enfichable
Câble réseau 5 m.