1 / 0








Belirtimler
200 serisi diğer Vario cihazlarla uyumlu şekilde bir araya getirilebilir
Kolay ve güvenli kullanım için geniş kumanda paneli
Toplam güç 6 kW'a kadar
Tek elle kumanda edebilme.
Cihaz kapağının kapatılması durumunda ızgara kolaylıkla ters çevrilebilir
Döküm ızgara.
Pirinç alev halkaları.
Termo elektrikli gaz güvenlik kilidi
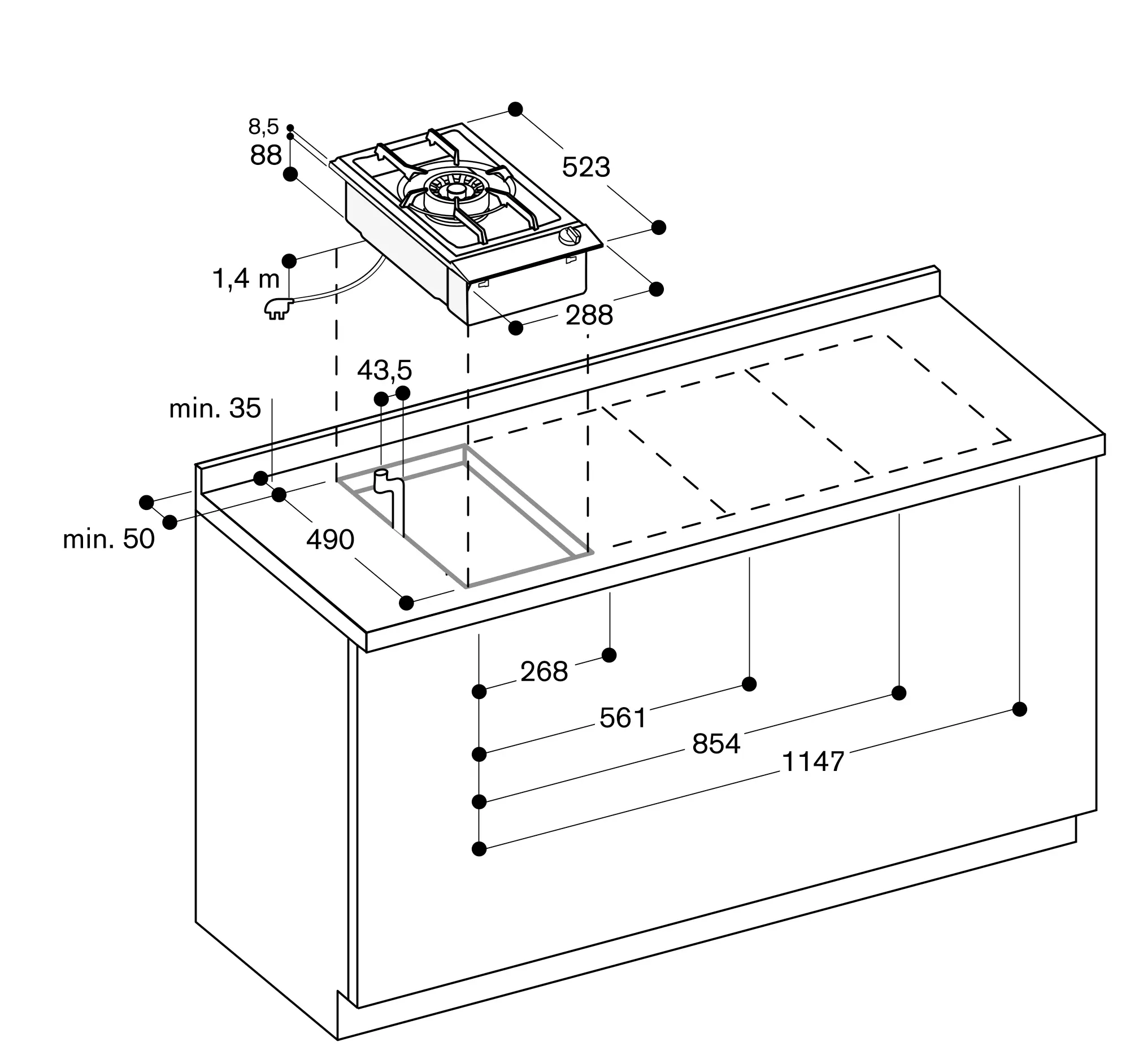
Çekmece derinliği max 42cm olmalıdır.
Cihaz çalışma tezgahına üstten monte edilebilir.
Cihazın yan duvarlar ile mesafesi min 150 mm olmalı ya da ısı izolasyonu öngörülmelidir.
Özel enjektörler (ocak gözü başına sipariş ediniz): ET-Nr. 622148 Doğalgaz 20 mbar ET-Nr. 622150 Sıvıgaz 50 mbar ET-Nr. 622151 Sıvıgaz 28-30/37 mbar
Toplam bağlantı değeri : Gazlı ocak 6.0 kW.
Elektrik bağlantı değeri 1.0 W.
Fişli bağlantı kablosu 1.4 m