1 / 0






Vurgular
Ödüller
Belirtimler
Hemyüzey montaj
Mikrodalga, ızgara ve fırın tek tek yada kombine edilerek çalıştırılabilir.
5 ısıtma türü, kombine çalışma ve dinlenme dahil otomatik ardı ardı çalıştırabilme imkanı.
TFT dokunmatik ekran
Yüzey kontrol modülüne sahip panelsiz cihaz
Elektronik ısı kumandası
İç hacim 36 Litre
5 farklı Mikrodalga kademesi: 1000, 600, 360, 180, 90 W.
4 farklı fırın ısıtma yöntemi:
40°C ve 100°C'den 250°C'ye sıcak hava.
100°C'den 250°C'ye sıcak hava ile ızgara.
100°C'den 250°C'ye turbo ızgara.
3 yoğunluk seviyeli tam yüzey ızgara,
maksimum çıkış güçü 2000 W.
Mikrodalga ve sıcak hava fonksiyonları serbesteçe birbirleri ile kombine edilebilir 600, 360, 180 und 90 W.
Ağırlığı gösteren 15 otomatik
program, kişiselleştirilebilir:
4 buz çözme programı
4 pişirme programı
7 kombine program.
Bireysel tarifleri kaydetme seçeneği.
Kontrol düğmesi ve TFT dokunmatik ekran ile kolay kullanım.
Anlaşılabilir metin ekranı.
110° yana doğru açılan kapı.
innowave teknolojisi
Hızlı ısıtma 100-250 derece arası çalışabilir.
4 adet tepsi sürme oluğu
Fırın içi anlık ısı göstergesi.
Yanda 60 W halojen aydınlatma (içerdeki akışı net görebilmek için)
3 kat camdan oluşan ısı izolasyonlu kapı.
Çocuk kilidi.
Güvenlik kapatması.
Dış gövde soğutması ile değerli ahşaplar koruma altında.
Seramik tabanlı hijyenik paslanmaz
çelik iç yüzey.
Kendini temizleyen ve yapışmayı
önleyen katalitik arka duvar.
Kapı yönü değiştirilemez
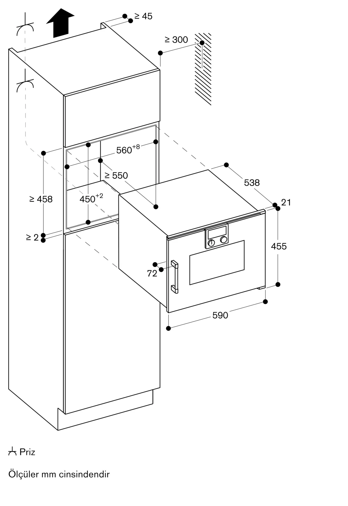
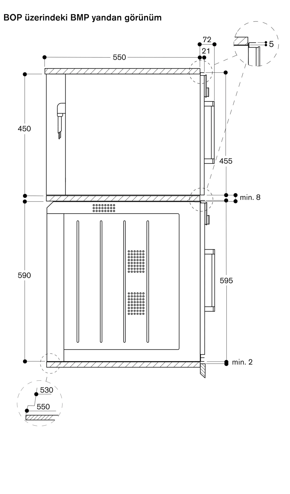
Ankastre boşluğunda arka kapak olmamalıdır
Cihaz kapısı ile mobilya paneli arasında minimum 5 mm mesafe bırakılması gereklidir.
Mobilya ile dış kapı yüzeyi arasındaki fark 21 mm olmalıdır.
Mobilya ile kapı kolu dış yüzeyi arasındaki fark 72 mm olmalıdır.
Cihaz yanına çekmece planlanırken, cihaz kapı kolu göz önünde bulundurulmalıdır.
Priz noktasını niş boşluğunun dışında planlayınız.
Toplam bağlantı değeri 3.1 kW.
Fişsiz bağlantı kablosu 1.5 m