1 / 0




Find a local Dealer
Find a local Dealer
Check appliance compatibility
How to find your E-Number
The model number (E-number) is located on the type plate of your device.
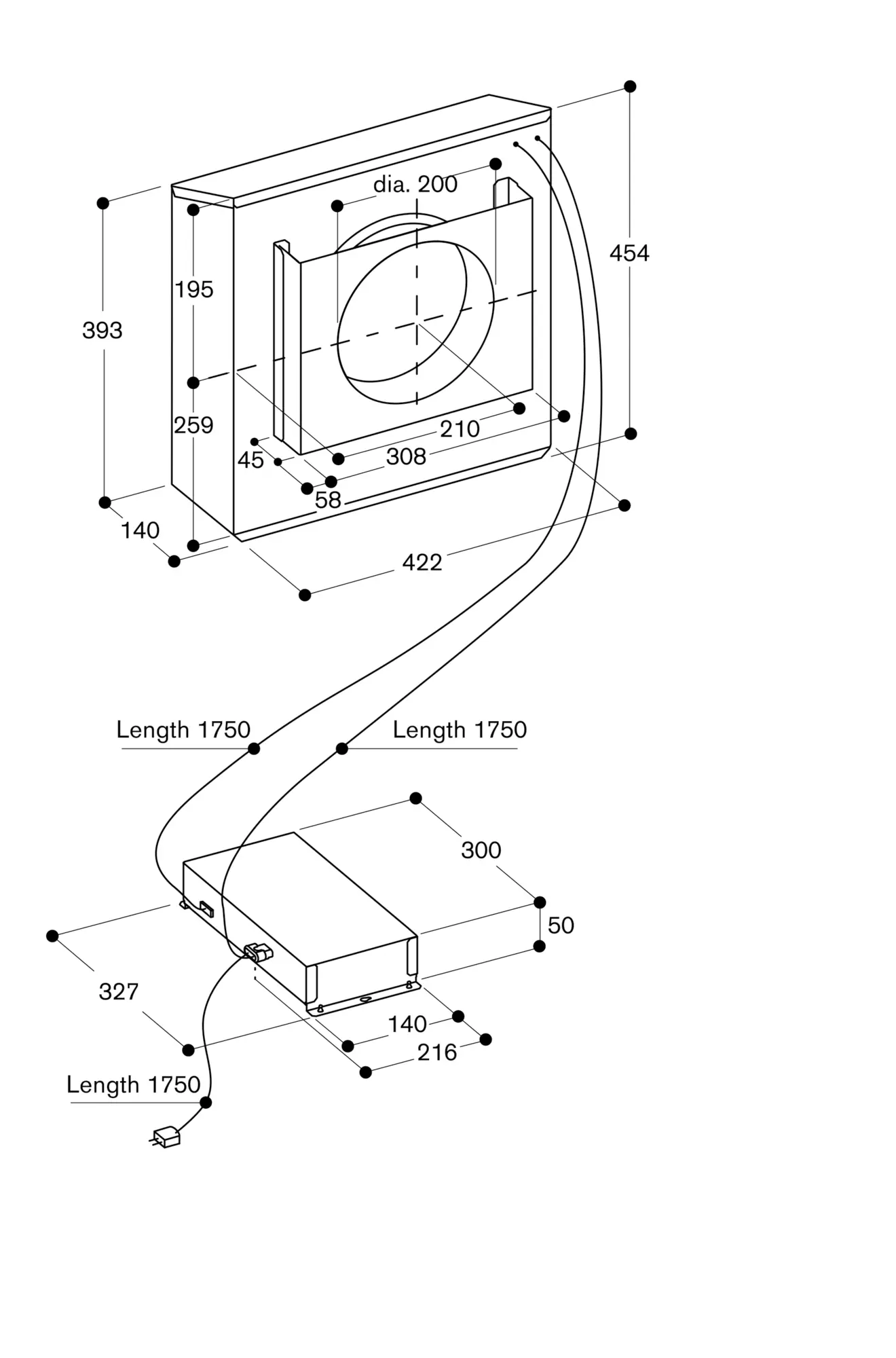
Specifications
Powerful remote fan unit to combine with motorless appliances
Efficient BLDC technology
Performance output level 3/Intensive:
Air output according to DIN EN 61591. Sound power and sound pressure depending on built-in situation.
Air extraction:
715 / 855 m³/h.
Power levels depend on the motorless appliances, see table on page XX.
3 electronically controlled power levels and one intensive mode.
Fan technology with highly efficient, brushless DC motor (BLDC).
Including sound insulation to minimise the noise level.
Stainless steel housing.
Pipe connection pieces on intake side: 1x NW 200 round.
Retaining bracket for installation on an outside wall enclosed.
Remote fan unit in combination with motorless appliances.
Connection to the respective appliances via network cable.
Acceptable temperature range for installation of the control box: -25 to 60 °C.
When installing a ventilation hood with air extraction mode and a chimney-vented fireplace, the power supply line of the ventilation appliance needs a suitable safety switch.
Total connected load 180 W.
Connecting cable 1.8 m, pluggable.
Network cable 5 m.